行业动态

了解最新公司动态及行业资讯

土壤筛分和土壤破碎设备怎样治理污染土壤

2018-08-13 01:00:01 175 编辑:admin 来源:本站
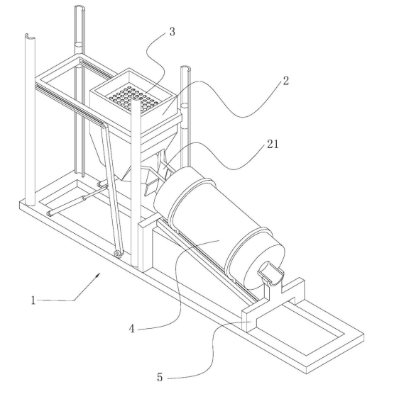
         目前在对重金属污染的土壤的治理中,向被污染的土壤中添加液态或固态药剂阻 止污染的扩大、积极改善土壤是众多治理方式中的一种。而要达到对土壤较好的治理效果, 需要将土壤筛分后再添加液态或固态药剂,这就需要借助机械装置的力量完成土壤高速破 碎、自动加药、混合搅拌等工作。目前,我国国内在这方面的技术还处于探索阶段,现成的装 备还非常缺乏。而我们郑州AG亚娱环境科技有限公司有一种土壤筛分兼土壤破碎的双用装置。 
土壤筛分

     一种土壤筛分以及土壤破碎装置,包括机架、架设于机架上的漏斗、设置于漏斗内筛分装置以及位于所述漏斗出料口处的破碎装置,所述漏斗的出料口设置有用于向所述破碎装置中输料的导料管,所述机架上设置有沿竖直方向滑动支撑框,所述漏斗沿水平方向滑动架设于所述支撑框,所述机架上在竖直平面转动设置有用于带动所述漏斗滑移的支撑杆,所述机架上设置有推动所述支撑杆转动的动力件,当需要向漏斗中添加物料时,通过动力件驱动连接漏斗上的支撑杆发生转动,使得漏斗在支撑框上水平滑移,且支撑杆的转动后在竖直方向的高度降低,使得漏斗与支撑框同步下降,实现了漏斗在竖直方向的升降,便于添加物料。

30

装备制造经验

立即免费获取土壤修复方案

为用户提供及时、高效、便捷的服务

在线咨询
AG亚娱环境希望与你携手,共创美好未来...
5